史上最全的法兰,你知道多少?
PN系列公称压力等级采用PN表示,包括以下九个等级:PN2.5、PN6、PN10、PN16、PN25、PN40、PN63、PN100、PN160。
Class系列公称压力等级采用Class表示,包括以下六个等级:Class150、 Class300、Class600、Class900、Class1500、Class2500。
1、按化工行业标准来分,法兰为:
板式平焊法兰(PL) 带颈平焊法兰(SO) 带颈对焊法兰(WN) 整体法兰(IF)
承插焊法兰(SW) 螺纹法兰(Th)
对焊环松套法兰(PJ/SE) 法兰盖(BL) 平焊环松套法兰(PJ/PJ) 衬里法兰盖(BL(s))
2、按石化(SH)行业标准来分,法兰分为:
螺纹法兰(PL) 对焊法兰(WN)
平焊法兰(SO) 承插焊法兰(SW)
松套法兰(LJ) 法兰盖(不表注)
3、按机械(JB)行业标准来分,法兰分为:
整体法兰 对焊法兰 板式平焊法兰
对焊环板式松套法兰 平焊环板式松套法兰 翻边环板式松套法兰 法兰盖
4、按国家(GB)标准来分,法兰分为:
整体法兰 螺纹法兰 对焊法兰
带颈平焊法兰 带颈承插焊法兰
对焊环带颈松套法兰 板式平焊法兰 对焊环板式松套法兰 平焊环板式松套法兰
翻边环板式松套法兰 法兰盖
5、按照连接方式法兰连接种类来分,法兰分为:
板式平焊法兰、带颈平焊法兰、带颈对焊法兰、承插焊法兰、螺纹法兰、法兰盖、带颈对焊环松套法兰、平焊环松套法兰、环槽面法兰及法兰盖、大直径平板法兰、大直径高颈法兰、八字盲板、对焊环松套法兰等。
6、按所联接的部件可分为容器法兰及管法兰。
7、按结构型式分,有整体法兰、螺纹法兰、平焊法兰对焊法兰、活套(松套、活舌)法兰和法兰盖。
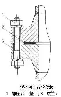
法兰连接的形式
法兰连接(flange,joint):由一对法兰、一个垫片及若干个螺栓螺母组成。法兰联接是一种可拆联接。
原理:垫片放在两法兰密封面之间,拧紧螺母后,垫片表面上的比压达到一定数值后产生变形,并填满密封面上凹凸不平处,使联接严密不漏。
性能:较好的强度和密封性,结构简单,成本低廉,可多次重复拆卸,应用较广 。
失效形式:主要表现为泄漏,泄漏量控制在工艺和环境允许的范围内。
法兰的密封形式
一、法兰封面形式包括
密封面形式 代号
平面 FF
突面 RF
凹凸面 凸面 MFM M
凹面 FM
榫槽面 榫面 TG T
槽面 G
环连接面 RJ
法兰类型与密封面型式
法兰类型 密封面型式 压力等级PN,MPa
板式平焊法兰(PL) 突面(RF) 0.25~2.5
全平面(FF) 0.25~1.6
带颈平焊法兰(SO) 突面(RF) 0.6~4.0
凹凸面(MFM) 1.0~4.0
榫槽面(TG) 1.0~4.0
全平面(FF) 0.6~1.6
带颈对焊法兰(WN) 突面(RF) 1.0~25.0
凹凸面(MFM) 1.0~16.0
榫槽面(TG) 1.0~16.0
环连接面(RJ) 6.3~25.0
全平面(FF) 1.0~1.6
法兰类型 密封面型式 压力等级PN,MPa
整体法兰(IF) 突面(RF) 0.6~25.0
全平面(FF) 0. 6~1.6
承插焊法兰(SW) 突面(RF) 1.0~10.0
凹凸面(MFM) 1.0~10.0
榫槽面(TG) 1.0~10.0
螺纹法兰(Th) 突面(RF) 0.6~4.0
全平面(FF) 0.6~1.6
对焊环松套法兰(PJ/SE) 突面(RF) 0.6~4.0
法兰类型 密封面型式 压力等级PN,MPa
平焊环松套法兰(PJ/PR) 突面(RF) 0.6~1.6
凹凸面(MFM) 1.0~1.6
榫槽面(TG) 1.0~1.6
法兰盖(BL) 突面(RF) 0.25~25.0
衬里法兰盖(BL(S)) 突面(RF) 0.6~4.0
凸面(M) 1.0~4.0
榫面(T) 1.0~4.0
佳能RF系统中有哪些宝藏镜头?
自2018年发布EOS R至今,佳能不仅在全画幅微单领域收获颇丰,在对应的RF镜头体系建设上也取得了不错的成绩,经过三年多的发展已经有20余款RF镜头面世,其中不乏很多宝藏镜头。这些镜头价格亲民,而且与同规格的单反镜头相比,画质更强、体积更小。下面我们就来给大家推荐一些。
全能表现定焦头:RF35mm F1.8 MACRO IS STM
这是一枚“万金油”镜头,35mm的焦距拍摄人文题材的照片是非常好用的,既可以有充足的空间交代背景,又可以将人物放在一个恰当的位置上。35mm还属于小广角范畴,因此使用这枚镜头拍摄一些视角不大的风光照片和建筑物摄影,也都是非常好用的。
值得一提的是,这枚镜头拥有0.5倍的放大倍率,再加上0.17米的最近对焦距离,用来拍摄静物微距也是得心应手。而F1.8的大光圈不仅可以带来梦幻虚化主体突出的效果,而且也可以在弱光环境下获得更大的通光量,夜晚扫街也可以获得很好的效果。
这是一枚配置了IS光学防抖和STM步进马达的镜头,镜头的IS光学防抖可以和机身防抖联动,安装在R5和R6身上可以实现八档防抖效果。STM步进马达可以提供更安静的对焦体验,这点在视频拍摄上尤为重要。
焦距:35mm、光圈:f/1.8、ISO感光度:400、曝光时间:1/160s
焦距:35mm、光圈:f/8、ISO感光度:100、曝光时间:1/400s
74.4×62.8mm的体积以及305g的重量,让这枚镜头的机动性很强,安装在同样轻巧的EOS R系列微单机身上,外出拍摄并不会造成太大的负担。应用的多样性以及极佳的便携性,这枚RF35mm F1.8甚至可以作为挂机镜头使用。
亲民人像大光圈: RF85mm F2 MACRO IS STM
85mm定焦大光圈镜头一直是很多摄影爱好者拍摄人像的不二之选。RF85mm F2 MACRO IS STM售价不到五千元,是一款性价比极高的85mm镜头。这枚镜头不仅人像拍摄有着不错的效果,而且还是一枚有着1:2放大倍率的微距镜头。
这枚镜头和上面我们介绍的35mm镜头一样,也有着轻巧的体积,重量仅为500g。对于一款85mm焦距镜头而言,F2的光圈已经足够大了,能够营造出梦幻的焦外虚化效果。这枚镜头的9叶片光圈也带来了柔美的焦外。这枚镜头在使用最大光圈F2拍摄时,就有很好的中心锐度,而且边缘锐度表现非常优秀。
自定义多功能环也是佳能RF镜头的特点之一,用户可以自行设定调节选项,在拍摄中可以更加快速的调整拍摄参数。
自定义多功能环位于镜头前端
RF85mm F2 MACRO IS STM样张
焦距:85mm、光圈:f/2.0、ISO感光度:100、曝光时间:1/60s
焦距:85mm、光圈:f/2.0、ISO感光度:1600、曝光时间:1/160s
焦距:85mm、光圈:f/2.0、ISO感光度:400、曝光时间:1/1250s
超机动长焦变焦头: RF70-200mm F4 L IS USM
佳能RF镜头的主要特点就是在高画质的基础上,镜头体积小重量轻,机动性强。这些在RF70-200mm F4 L IS USM这款产品上体现得淋漓尽致。119mm的长度(收纳状态下)和695g的重量,不要说和单反同规格镜头相比,就是放在微单镜头中也算得上短小精悍了。
短小精悍的RF70-200mm F4 L IS USM
安装在EOS R5上非常协调
这枚镜头采用了11组16片的光学设计,配置了4片UD镜片(超低色散),对整个对焦区域的色相差有效补偿,实现了色彩鲜明的画质表现。此外ASX镀膜防反射效果好,可以有效减少鬼影的产生,即使逆光拍摄也可以获得清晰影像。
光圈全开情况下色散控制得非常好
虽然最大光圈仅为F4,但是这枚镜头配置了IS光学防抖组件,安装在EOS R5和R6上,可以与机身上的防抖机构联动,实现最高8档防抖效果。这枚镜头提供了三种不同的防抖模式,第一种适合拍摄人像等静止目标,第二种适合追随拍摄,比如赛车、田径等题材的拍摄。第三种适合拍摄足球、滑板这些无规律的运动题材。用户可以根据实际拍摄情况,选择最合适的模式进行拍摄。
三种防抖模式对应不同拍摄环境
这枚镜头还采用了浮动对焦技术,2个NANO USM超声波马达分别驱动两组镜片进行对焦,对焦距离更近,速度更快。另外这两个小型NANO USM超声波马达也可以让镜头体积更小,并且对焦过程更加安静。
RF70-200mm F4 L IS USM样张
焦距:186mm、光圈:f/4、ISO感光度:100、曝光时间:1/180s
焦距:118mm、光圈:f/4.0、ISO感光度:100、曝光时间:1/125s
焦距:200mm、光圈:f/4、ISO感光度:100、曝光时间:1/1600s
生态镜头价不高: RF600mm F11 IS STM、RF800mm F11 IS STM
对于生态摄影来说,一枚超级望远镜头是必不可少的。但这类镜头一般价格高,重量沉,普通摄影爱好者即使有意涉足生态摄影领域,也常会望镜兴叹。为了让更多摄影爱好者体会到超远摄的乐趣,佳能推出了RF600mm F11 IS STM和RF800mm F11 IS STM这两枚镜头,虽然光圈仅为F11,但是焦段给力重量轻,在光线条件好的情况下,拍摄鸟类等野生动物是非常好用的。
两枚镜头均采用了DO镜片,伸缩镜筒以及固定光圈设计,有效缩减了镜头重量和体积,具有良好的便携性。DO镜片具有微米级衍射光栅层叠结构,利用衍射现象控制光路,补偿色像差。1片DO镜片就能达到萤石镜片和非球面镜片的补偿效果。为镜头小型化提供了可能。
600mm定焦镜头体积93×199.5mm,重量仅930g,800定焦镜头体积101.6×281.8mm,重量仅1260g;即使不上脚架也可以轻松手持拍摄。镜头防抖与EOS R5、R6机身防抖联动,手持拍摄也可以获得清晰影像。
如果觉得600mm和800mm还是不能满足需要,还可以使用RF1.4x和RF2x两个增倍镜,获得更远拍摄性能。
RF600mm F11 IS STM、RF800mm F11 IS STM样张
焦距:800mm、光圈:f/11、ISO感光度:400、曝光时间:1/1600s
焦距:600mm、光圈:f/11、ISO感光度:2500、曝光时间:1/80s
焦距:600mm、光圈:f/11、ISO感光度:400、曝光时间:1/400s
RF的系统优势
刚才我们给大家推荐了几款RF宝藏镜头,下面我们再来简单说一下RF系统的优势吧。得益于短法兰距和大口径,RF镜头可在成像面附近配置大口径镜片(后镜组),在减少光线折射、降低像差的的同时,制造出中央与边缘成像均优异且体积更为小巧的镜头。
RF镜头有12个电子触点,这就让机身与镜头的数据传输量更大速度也更快,不仅可以在镜头上配置多功能控制环,让用户可以进行自定义提升拍摄效率。而且前面我们说过,镜头和机身的联动防抖可以实现8档防抖效果,这也要有赖于机身和镜头之间大量高速度的数据交换。
可换镜头相机的成功,不仅需要高性能的机身,镜头同样是重中之重。种类多、高素质且轻便小巧的微单镜头,在用户选择微单系统时是重要的加分项。佳能EOS R5、R6是两款性能强大,表现全面的全画幅微单相机,而身后众多同样出色的RF镜头就是它们最坚强的后盾。
(7734929)
相关问答
平焊法兰PL50-16RF代表什么意思?
PL50-1.6RF其中PL是指板式平焊钢制管法兰50是指公称通径DN501.6是指公称压力PN1.6RF是指法兰密封面型式是突面PL50-1.6RF其中PL是指板式平焊钢制管法兰...
HG/T20592法兰SO50(B)-16RF是什么意思_作业帮
[最佳回答]HG/T20592化工部执行标准SO平焊带劲50是DN50B是B系列配直径57的钢管16是压力16公斤压力RF密封面形式突面HG/T20592化工部执行标准SO平焊带...
16rf和10rf的法兰有区别吗?
国标法兰10公斤级和16公斤级的区别:1、耐压等级:10公斤压力等级低;16公斤的压力等级高。2、壁厚:国标法兰10公斤级壁薄;国标法兰16公斤级壁厚。3、外径...
16公斤rf法兰盖尺寸?
1是多种尺寸可选的,具体尺寸需要根据具体需求和使用场景来确定。2一般来说,16公斤rf法兰盖的尺寸会根据管道的直径和连接方式来确定,常见的尺寸有DN25、DN40...
2‘’flangedRFASTMA182F316/316L,WN,300#。请问是什么意思,尤其是WN?
WNWeldingNeck带颈对焊法兰RF突面ASTMA182F316/F316L材料标准2“法兰尺寸300#法兰压力等级WNWeldingNeck带颈对焊法兰RF突面ASTMA182F316/F3...
GASKET,CLASS150,RF,1/16"THK,GRAFOILGRADEGHR,PERASMEB16.2...
[最佳回答]RF=RaisedFlange凸面法兰FF=FaceFlange平面法兰ItmeansthatthisgastketisusedforANSI150LBRais...
关于ANSIB16.5,,里面法兰FF与RF尺寸?-盖德问答-化工人互...
我是想知道rf面和ff面之间法兰厚度与突台的关系?。同一型号的so法兰,class150。。。。或者说突台...hg/t20615§3.2.54凸台高度f1、f2及e未包...
法兰中rf是什么意思?
法兰rf是意思:法兰指的是突面。法兰(Flange),又叫法兰凸缘盘或突缘。法兰是轴与轴之间相互连接的零件,用于管端之间的连接。也有用在设备进出口上的法兰,用...
阀门法兰连接RF、RJ、LG、FF分别表示什么意思?_汽配人问答
[最佳回答]密封面形式代号突面RF全平面FF环连接面RJ榫槽面TG凹凸面MFM适用于以下法兰的密封面:板式平焊PL带颈平焊SO带颈对焊WN整体法兰IF承插...
谁能告诉我,法兰套管HG/T2059240-16RFA=M20*1.5是什么意思?
HG/T2059240-16RFA=M20*1.540-16是公称直径DN40的法兰,公称压力16公斤也就是1.6MPa,RF指密封面为突面,A=M20X1.5指该法兰上所配的螺栓规格。H...
