RF卡口新进人像镜皇 佳能RF85mm f12评测
佳能在今年2月21日发布EOS RP的时候给我们带来了一个非常大的彩蛋,那就是佳能全新的六支RF镜头的开发计划,并且在现场展示了这六支RF镜头的模型,其中就包含了两支RF85mm的定焦镜头:RF85mm F1.2L USM以及RF85mm F1.2L USM DS,随后关于佳能这两支85mm镜头的传言几乎就没断过,最终佳能在2019年5月8日正式发布了两支RF85mm的定焦镜头中的一支:RF85mm F1.2L USM。而关于其DS版本的镜头暂时还未公布具体的时间。近期我们收到了RF85mm F1.2L USM这支镜头,这支镜头是佳能EOS R系列用户非常关心的一支产品,今天我们就来讨论一下这支镜头,究竟有何魅力?
·佳能RF85mm F1.2L USM镜头规格:
·镜头焦距:85mm
·镜头光圈范围:f/1.2-f/16
·光圈叶片:9片圆形光圈
·镜头结构:9组13片(包含1片UD镜片、1片研磨非球面镜片、1片BR光学元件、采用ASC镀膜)
·最近对焦距离:0.85m
·最大放大倍率:0.12×
·环形USM超声波马达驱动
·滤镜尺寸:82mm
·镜头尺寸:φ103.2mm×117.3mm
·镜头重量:约1195g
·官方售价:18749元
佳能RF85mm F1.2L USM包装
佳能RF85mm F1.2L USM并非是佳能EOS R的首批镜头,但是其一经公布就受到了不小的关注,和佳能RF50mm F1.2L USM相比,这支镜头的焦段更长,在拍摄人像的时候更具压缩感,所以这也是为什么这么多人在拍摄人像的时候更喜欢用85mm的原因,以及这支镜头受关注最主要的因素。佳能RF85mm F1.2L USM的外包装采用了纯黑色为主色调,看起来给人一种沉稳的感觉。
佳能RF85mm F1.2L USM包装内全家福
佳能RF85mm F1.2L USM镜头采用了9组13片的光学结构,其中包含了1片UD镜片、1片研磨非球面镜片、1片BR光学元件。而在镀膜工艺上,这支镜头采用了ASC镀膜(ASC 镀膜于 2014 年首次运用在“大白兔”上,是佳能当前黑科技镀膜技术之一),抑制眩光鬼影效果会更加突出。而在包装内,包含的配件也十分简单,包含了遮光罩,皮质镜头袋、说明书和保卡。
佳能RF85mm F1.2L USM搭配EOS R
佳能RF85mm F1.2L USM
佳能RF85mm F1.2L USM手持状态
佳能RF系列镜头其实从开发之初就设定了最大光圈可用的理念,所以从某种程度上来说一改人们对镜头最佳光圈的认知,既然这支镜头定位于人像镜头,那么拍摄人像而言,大光圈所营造出来的虚化、大光圈下的色散控制、大光圈下镜头的分辨率等都是非常重要的,所以我们关于这支镜头的评测也将会重点围绕这些方面来进行讨论。
·外观细节介绍
现在的产品在设计方面都讲究家族式的设计概念,无论是此前佳能在发布两支EF卡口的70-200时还是在发布全新RF卡口镜头时,无一不例外都在强调这个概念。佳能RF85mm F1.2L USM和此前发布的RF系列镜头采用了统一的设计风格:统一的黑色配色、手感不错的镜筒磨砂喷涂工艺、统一的镜头尾部银色的装饰圈。
佳能RF85mm F1.2L USM
和此前RF系列专微镜头一样,佳能RF85mm F1.2L USM同样没有对焦距离提示窗,这里再次强调一下EOS R专微镜头的一个设计思路,对焦距离提示窗内所显示的内容在取景器或者屏幕上都可以显示。所以完全没有必要再画蛇添足的设计一个对焦距离提示窗了。
佳能RF85mm F1.2L USM
而在佳能RF85mm F1.2L USM镜头的整体设计上,其采用的是对焦环在后,多功能控制环在前的设计,和此前的佳能EF镜头不一样的是,RF卡口的镜头多了一个多功能控制环。此外整个镜身拥有两个拨杆开关:AF/MF拨杆以及对焦限位拨杆。但并没有搭载防抖组件,如此大光圈的镜头再加上防抖功能,我个人感觉实属没有必要。
佳能RF85mm F1.2L USM多功能控制环
佳能RF 85mm F1.2L USM的多功能控制可实现的功能
佳能RF 85mm F1.2L USM镜头相比以往的EF镜头,除了卡口不一样之外,最大的变化莫过于这个多功能控制环了,控制环功能可自定义,可以将原本由相机进行调整的光圈、快门速度、ISO感光度以及曝光补偿,分配到镜头的控制环上,方便观察取景器时的盲操作,大大提升了操作便捷性。
佳能RF85mm F1.2L USM采用了金属卡口,后镜组镀膜
佳能RF 85mm F1.2L USM采用了82mm的口径,前镜组镀膜
佳能RF 85mm F1.2L USM的镜头结构是9组13片,其中包含了1片UD镜片、1片研磨非球面镜片以及1片BR光学镜片,并且加入了ASC空气镀膜。此外还在镜头最前端以及最后端镜片组的镜片表面,增加了氟镀膜,可以有效的防止镜片被弄脏(特别是水分和油脂的侵袭),通过上面我们实拍的照片,可以清晰的看到其镀膜的颜色,氟镀膜会让清除这些污垢变得更加容易。此外,镀膜表面光滑,因此不易造成划伤。
在全画幅微单时代,镜头的体积早已经不是设计者最优先考虑的因素了,因为品质和画质才是最关键的因素,佳能RF85mm F1.2L USM的重量为1195g,搭配660g的EOS R看似很唬人,但实际上手的重量给我的反馈还好,外出拍摄一天是感觉不到沉重的感觉的(对我个人而言)。
·分辨率实拍
RF卡口镜头的优势经过首批四支镜头的验证已经取得了很大的市场认可,而RF85mm F1.2L USM继续发扬RF卡口短后对焦距离的优势,结合BR镜片、研磨非球面镜片以及UD(超低色散)镜片,有效的降低了色像差等的产生,带来了画面中心到边缘的高画质表现。下面我们来看看这支镜头在不同光圈下的实拍效果。
红框内为100%截图区域
通过实际拍摄,可以看到,佳能RF85mm F1.2L USM的成像非常犀利,最大光圈下的成像高度可用,虽然相比光圈收缩至f/2.0时的画质略微显得松散,但对于一支RF卡口镜头来说,最大光圈可用已经是非常大的进步,而且佳能在镜头方面有着得天独厚的优势,能有这样的表现我丝毫不意外,感兴趣的朋友可以点击此前我们评测的另外一支RF大光圈镜头的分辨率测试《佳能RF50mm F1.2L USM分辨率实拍测试》。
·背景虚化以及鬼影眩光实拍
佳能RF85mm F1.2L USM采用了9片圆形光圈设计,采用圆形光圈的镜头在虚化灯饰、透过树叶的阳光、水面反射光等点光源时,能够得到美丽的圆形虚化。下面我们来看看这支镜头的实拍效果。
佳能RF85mm F1.2L USM采用了9片圆形光圈设计
佳能RF85mm F1.2L USM最大光圈实拍
在鬼影眩光方面,我们知道任何镜头都是无法避免眩光和鬼影的现象产生,这是镜头的光学结构以及镀膜结构的原理所决定的。佳能RF85mm F1.2L USM采用了ASC镀膜技术,可有效抑制因光反射引起的鬼影和眩光,那么实际拍摄效果如何呢?
鬼影眩光实拍
逆光人像实拍
通过实际拍摄,这支镜头的表现还是不错的,其实所谓的ASC是在传统的蒸镀多层镀膜之上形成的一层包含二氧化硅与空气的镀膜。空气的折射率要低于光学玻璃,通过使镀膜中包含一定比例的空气,实现了低折射率,特别是对近乎垂直入射的光线,可有效发挥防反射作用。而这个镀膜技术的加入,也让我们使用这支镜头逆光拍摄人像提供了强有力的保证。ASC度模也是佳能比较先进的镀膜技术,在佳能经典的镜头都采用了这个镀膜,RF85mm f/1.2L USM作为佳能新一代的人像镜皇自然也会采用。
·色散实拍
色散,是大光圈人像镜头绕不开的话题,佳能RF85mm F1.2L USM用料豪华,采用了佳能自行研发的BR光学元件,可有效抑制大光圈镜头中使用玻璃镜片组合无法很好补偿的轴向色像差,从而实现F1.2全开光圈下的高画质表现。这支镜头也是佳能第二款采用了BR镜片的大光圈镜头(第一款为佳能EF 35mm F1.4L II USM)。
佳能RF85mm F1.2L USM轴向色散实拍
红框内为高光截取区域
100%截图
通过我们的实际拍摄,佳能RF85mm F1.2 L USM的表现在我的意料之中,因为此前测试佳能RF50mm F1.2 L USM的时候就已经感受到佳能在色散方面的用心了,更何况这支镜头还加入了BR光学元件,所以能有这样的结果我一点也不感到意外。
·室外人像样片实拍
考虑到这支镜头最多的使用时间还是在户外,所以拿到这支镜头之后我首先在户外进行了拍摄,本文所有样片,均使用3030万像素的佳能EOS R进行拍摄,为了向大家充分展示该镜头的素质表现,在本页的所有照片,均为机内直出JPEG。(以下照片均为轻度后期样片,感兴趣的用户可以点击放大查看大图 )
焦距:85mm 光圈:f/1.4 ISO感光度:100
曝光时间:1/1000s 曝光补偿:0EV 白平衡:自动
焦距:85mm 光圈:f/1.2 ISO感光度:160
曝光时间:1/2500s 曝光补偿:0EV 白平衡:自动
焦距:85mm 光圈:f/1.2 ISO感光度:160
曝光时间:1/2500s 曝光补偿:0EV 白平衡:自动
焦距:85mm 光圈:f/1.2 ISO感光度:160
曝光时间:1/3200s 曝光补偿:0EV 白平衡:自动
焦距:85mm 光圈:f/1.2 ISO感光度:125
曝光时间:1/1600s 曝光补偿:0EV 白平衡:自动
焦距:85mm 光圈:f/1.2 ISO感光度:125
曝光时间:1/1000s 曝光补偿:0EV 白平衡:自动
焦距:85mm 光圈:f/1.2 ISO感光度:125
曝光时间:1/800s 曝光补偿:0EV 白平衡:自动
焦距:85mm 光圈:f/1.2 ISO感光度:125
曝光时间:1/1000s 曝光补偿:0EV 白平衡:自动
焦距:85mm 光圈:f/1.2 ISO感光度:100
曝光时间:1/1000s 曝光补偿:0EV 白平衡:自动
大家可以更加直观的看看这支镜头的锐度、虚化以及中远工作距离的透视感等表现。佳能RF85mm F1.2 L USM这支镜头的中心锐度非常高,全开光圈完全可用。
·室内人像样片
考虑到这支镜头并非仅仅只是在室外使用,所以我们也在室内进行了人像拍摄,本文所有样片,均使用3030万像素的佳能EOS R进行拍摄,为了向大家充分展示该镜头的素质表现,在本页的所有照片,均为机内直出JPEG。(以下照片均为原片,并未进行过任何的后期处理,感兴趣的用户可以点击放大查看原片 )
焦距:85mm 光圈:f/1.2 ISO感光度:200
曝光时间:1/160s 曝光补偿:-0.3EV 白平衡:自动
焦距:85mm 光圈:f/2.0 ISO感光度:100
曝光时间:1/160s 曝光补偿:-0.3EV 白平衡:自动
焦距:85mm 光圈:f/1.2 ISO感光度:100
曝光时间:1/640s 曝光补偿:0.7EV 白平衡:自动
焦距:85mm 光圈:f/2.0 ISO感光度:100
曝光时间:1/25s 曝光补偿:0EV 白平衡:自动
焦距:85mm 光圈:f/1.2 ISO感光度:125
曝光时间:1/160s 曝光补偿:-0.3EV 白平衡:自动
焦距:85mm 光圈:f/1.2 ISO感光度:160
曝光时间:1/160s 曝光补偿:-0.3EV 白平衡:自动
虽然室内并不是85mm焦段最容易发挥的地方,但是室内光线复杂,更能考验一支镜头在对焦、分辨率等方面的表现,在室内拍摄中,我开启了人脸+人眼识别功能,佳能RF85mm F1.2 L USM的对焦速度非常快,并且安静,更重要的是能实现精准的对焦,f/1.2的大光圈也更能照顾到环境光线。
·静物实拍样片
虽然佳能RF85mm F1.2 L USM是一支人像镜头,但其可拍摄的题材绝非仅仅只有人像,所以我使用这支镜头也拍摄了一些小品类照片。本文所有样片,均使用3030万像素的佳能EOS R进行拍摄,为了向大家充分展示该镜头的素质表现,在本页的所有照片,均为机内直出JPEG。(以下照片均为原片,并未进行过任何的后期处理,感兴趣的用户可以点击放大查看原片 )
焦距:85mm 光圈:f/1.2 ISO感光度:100
曝光时间:1/2000s 曝光补偿:0EV 白平衡:自动
焦距:85mm 光圈:f/1.2 ISO感光度:100
曝光时间:1/1600s 曝光补偿:0EV 白平衡:自动
焦距:85mm 光圈:f/1.2 ISO感光度:250
曝光时间:1/125s 曝光补偿:0EV 白平衡:自动
焦距:85mm 光圈:f/1.6 ISO感光度:100
曝光时间:1/8000s 曝光补偿:0EV 白平衡:自动
焦距:85mm 光圈:f/1.2 ISO感光度:500
曝光时间:1/125s 曝光补偿:0EV 白平衡:自动
·评测总结:
佳能RF85mm F1.2 L USM
85mm这个焦段的定焦镜头从来没有弱者,佳能RF85mm F1.2 L USM绝对对得起“人像镜皇”的称号,从实际拍摄以及各种专项实拍来看,这支镜头的光学素质和佳能RF50mm F1.2 L USM一样优秀,全开光圈的中心和边缘高画质、柔美的焦外虚化、优秀的色散表现等等;而从实际的人像拍摄感受来看,佳能RF85mm F1.2 L USM的最大光圈是完全可以信赖的,尤其是在锐度表现方面,焦内纤毫毕现,而焦外则得益于F1.2的大光圈,虚化也是非常不错的,可以说在画质方面,达到了目前同等级镜头的顶级水平。目前这支镜头已经开始售卖,单价18749元并且还赠送肯高清洁套装以及1TB西部数据WD移动硬盘,感兴趣的朋友可以关注。
欢迎关注 蜂鸟网微信公众号:fengniaoweixin
再提f12“大光腚”佳能RF卡口新镜专利曝光
出自蜂鸟网-器材频道,原文链接:https://m.fengniao.com/document/5360623.html
在目前的佳能RF系统中,已经有了三支F1.2的大光圈定焦镜头,分别为RF50mm f/1.2L与RF85mm f/1.2L和RF85mm f/1.2L DS。而近日根据外媒曝光,佳能再度提交了两支同为该焦段的F1.2镜头的新专利。值得一提的是,其中85mm f/1.2镜头的专利中显示其并未来用佳能的BR镜片。下文我们来看看佳能这几只新镜头的专利。
·RF 85mm f/1.2
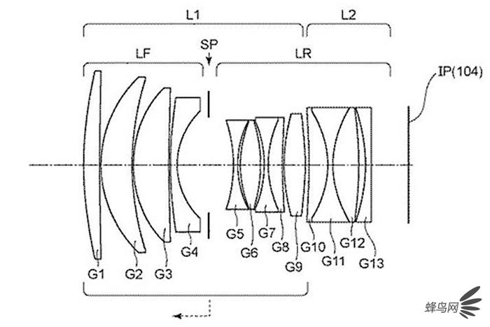
佳能RF85mm f/1.2专利图
焦距:83.20mm
光圈值:1.24
半视角:14.58
图像高度:21.64mm
镜头长度:121.31mm
·RF 50mm f/1.2:
焦距:51.10mm
光圈值:1.25
半视角:22.95
图像高度:21.64mm
镜头长度:111.01mm
值得注意的是,这两支镜头在长度上都略比现款镜头略长一些,而除了这两支镜头外,外媒同期还曝光了佳能两支变焦镜头的专利。
·RF 24-150mm f/4
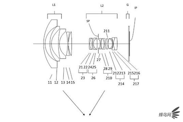
佳能RF24-150mm f/4专利图
焦距:24.70-58.34-145.80mm
光圈:4.12-4.12-4.12
半视角:38.43-20.35-8.44
镜头长度:116.35-134.13-162.90mm
·RF 13-21mm f/2.8
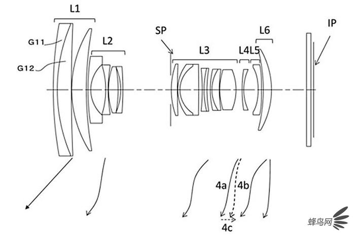
佳能RF13-21mm f/2.8专利图
焦距:13.40 17.30 21.20mm
光圈:2.88-2.88-2.88
半视角:58.23-51.35-45.58
图像高度:21.64-21.64-21.64 m
镜头长度:150.15-136.89-130.04 mm
·编辑观点
这几个镜头专利都各有特点,但佳能为何会再度带来全新的50mm和85mmf/1.2镜头,这让人有些匪夷所思,难道是仅仅为了带来全新的镀膜升级?而RF13-21mm f/2.8镜头从数据上则更为令人咋舌,或许将引领未来“大三元”镜头的广度。不过,值得好奇的是这些镜头会最终转化为实物吗?让我们期待吧。
欢迎关注 蜂鸟网微信公众号:fengniaoweixin
相关问答
罗蒂尼rf13防盗门的介绍?
罗蒂尼rf13防盗门配有防盗锁,在一定时间内可以抵抗一定条件下非正常开启,具有一定安全防护性能并符合相应防盗安全级别的门。罗蒂尼rf13防盗门配有防盗锁,在...
公司金融rf是什么意思?
RegionsFinancialCorporation是一家金融控股公司,业务覆盖美国南部和中西部。地区金融公司,2004年2月13日注册成立,是一家金融控股公司。服务地区包括美国...
Rf值的计算公式是什么?其影响因素有哪些?_作业帮
[最佳回答]薄层色谱法中原点到斑点中心的距离与原点到溶剂前沿的距离的比值影响因素:溶质和溶剂的性质
游戏论坛中RF是啥意思?
RFonline是最新潮的幻想主意和机械文明混合的SFMMORPGGAME。述说在遥远新太阳系的三个种族之间为了争霸太阳系的霸权和星系的资源等,进行战斗的战争故事。...
5q1265rf电源厚膜块3脚电压在10V-13V之间变化断开行电路接假负载故障一样+B没有输出是怎么回事谢谢?
3脚对地电解换新,确保对3脚供电回路的原件都正常查一下次级整流管和负载,有没有击穿的或者用那种uc3842做的模块代一下,确认开关变压器之后是否正常3脚对地...
香港买的戴尔电脑繁体系统肿么换为简体哇?-ZOL问答
1.4万浏览13回答戴尔笔记本质量好不好?戴尔笔记本现在值得买么?1.3万浏览...从生态到航空你一定需要有一个RF200-800评论3AGONAG246FK显示器评测:540...
芦丁和槲皮素在纸色谱和聚酰胺薄膜色谱上的rf值大小有什么不...
芦丁Rutin异名:芸香甙,维生素P,紫槲皮甙,Rutoside,Violaquereitrin化学名:4H-1-Benzopyran-4-one,3-[(6-O-(6-deoxy-α-L-manno...
苹果手机中rf暴漏是什么意思?-ZOL问答
出厂日期:2016-05-13/2016-05-19翻新机鉴定:如果该设备为非官方渠道新购(30天内购买),那么该设备有0%的可能是翻新机销售地(国家版本):[设置/通用/关于本机...
关节镜手术一年后疼痛_千问健康
曾经治疗情况和效果:想得到怎样的帮助
快递货号编码规则?
联昊通物流单号由12位数字组成,目前常见以5*、6*等开头申通单号由12位数字组成,常见以268**、368**、58**等开头EMS单号由13位字母和数字组成,开头和结尾二...
