举棋不定 聊聊佳能APS-C RF卡口相机
近日有消息称,佳能一直积极与精选的专业人士进行市场调查,以了解是否对APS-C RF卡口相机有真正的需求。佳能的 EOS M 系列则处于未知状态,已有多次报道 EOS M 系列将以目前的状态走向消亡,专注 RF卡口发展。那么佳能是否会推出APS-C RF卡口相机?EOS M 系列将来又会如何?
EF-M卡口
-01-无反两个卡口 EF-M停滞
关于这个问题,目前佳能拥有EF、EF-M、RF三种相机卡口,其中无反系统就两种。EF-M法兰距是18mm,而RF法兰距是20mm,再加上卡口直径不同,两者不能直接兼容,目前佳能只提供两者转接EF的方案,并没有EF-M转接RF的方案。
EF-M卡口第一代EOS M
2018年RF卡口诞生
佳能EF-M卡口系统2012年诞生,仅比索尼E卡口系统晚2年。2018年推出EF-M 32mm f/1.4 STM之后EF-M镜头开发出现了停滞,2018年至今未发布任何新EF-M镜头,有意思的是恰恰是2018年佳能推出了EOS R系统 ,开发资源明显向RF倾斜。2012-2018这六年时间佳能发布了8支EF-M镜头,其中EF-M 15-45mm f/3.5-6.3 IS STM替代了EF-M 18-55/3.5-5.6 IS STM,目前官网为7支镜头。相机机身更新并未停滞去年推出了EOS M50 Mark II。
EF-M镜头群
索尼E卡口历年镜头发展
作为对比,索尼E卡口兼容APS-C和全画幅,发展初期(2010-2013)全部是APS-C镜头,共推出15支,与佳能同样六年发展时间(2010-2016年)发布了16支APS-C镜头,至今总计19支APS-C镜头 。至于富士APS-C画幅的X镜头群更为丰富,所以单纯从数量上看,佳能EOS M系统虽然机身仍在更新,但可换镜相机系统镜头群发展停滞,终究不是什么好信号,不能用“基本够用”就敷衍了事。很显然佳能对这个系统定位是比较低的,家用能够满足就可以了。
-02-一次试探 EOS C70
EOS C70:Super 35mm图像传感器 +RF卡口
那么制造RF卡口 APS-C无反相机呢?单纯从机身开发角度,可以说完全没有问题,现有RF卡口机身搭载APS-C图像传感器,可以减少快门组件、防抖组件尺寸,一定程度上还能进一步缩小机身尺寸。事实上佳能去年已经推出了此类“相机”,EOS C70是CINEMA EOS系列中首次搭载RF卡口的机型,这款摄像机搭载Super 35mm图像传感器,其尺寸与APS-C相近。当年索尼用VG900E展示了E卡口上全画幅,如今佳能用EOS C70给我们看RF卡口上APS-C也不浪费……
“减焦”
“增光”
有意思的是佳能也考虑到这款摄像机全画幅视角的问题,推出了EF-EOS R 0.71×卡口适配器(俗称减少焦增光环)。使用EF-EOS R 0.71×卡口适配器时,卡口适配器内置的微型光学系统具有0.71倍放大系数,可将视角转换为与全画幅EF镜头原有焦距视角相同。该卡口适配器内置微型光学系统还具有聚光效果,在相同光圈下拍摄时,其聚光效果可使镜头进光量大幅提升,相当于提高了一档F值。如果佳能真的推出RF卡口 APS-C无反相机,通过该适配器,也可以转接EF镜头时获得全画幅视角。
富士X-H1
佳能推出RF卡口 APS-C无反相机最大的问题是市场需求,尤其是APS-C高端机型,过往历史上曾出现佳能7D系列、尼康D500/D300这样的APS-C旗舰相机,近年来富士也推出过X-H1冲击这一市场。然而随着全画幅机型价格不断下探,高像素全画幅机型连拍不断提高。高像素全画幅机型通过APS-C剪裁模式已经成为一种获得APS-C视角的解决方案,只是如此会增加购机成本。
-03-权衡利与弊
市场上对APS-C高端机型需求在下降,这也是佳能举棋不定迟迟没有推出RF卡口 APS-C高端无反的原因。下面谈谈佳能推出RF卡口 APS-C无反相机的利弊:
1.统一无反卡口(利)
在A卡口退出历史舞台之后,索尼强调“1个卡口”即E卡口贯通所有无反类系统。Z卡口与L卡口也都是有APS-C画幅产品(比如徕卡TL/CL),索尼的“1个卡口”策略对它们也不是问题。目前只有佳能的无反系统是两个互不兼容的卡口。佳能推出RF卡口 APS-C无反相机,将无反系统统一为RF卡口,甚至CINEMA EOS系列摄像机也会逐渐从EF换成RF,这取决于RF镜头群规模,未来推出RF卡口电影镜头也是迟早的事(索尼已经推出E卡口电影头)。佳能版“1个卡口”战略,最大牺牲者显然是EF-M。
RF卡口 APS-C无反相机可以直接使用全画幅RF镜头,尤其长焦,比如RF100-500mm F4.5-7.1 L IS USM,RF800mm F11 IS STM、RF600mm F11 IS STM,充分发挥 APS-C画幅“赚长焦”的视角优势,相比全幅剪裁方案,可以降低机身购买成本。
2.APS-C用户有进阶全幅空间(利)
尼康APS-C相机Zfc搭配全画幅Z28mm镜头
RF卡口 APS-C无反相机的出现,符合单反时代一个卡口两种画幅的期待,购买APS-C机型的用户甚至会购买一些全画幅镜头,未来进阶全画幅相机,全画幅镜头可以继续使用,APS-C镜头可以剪裁模式下临时使用。APS-C相机还可以作为全画幅相机的备机,两者镜头完全通用,只需一套镜头即可应对两个画幅机身不同场景的拍摄。
3.缺乏APS-C RF镜头(弊)
前文谈到,RF镜头群完全是针对全画幅打造,而针对APS-C设计的EF-M镜头群又与RF卡口不兼容,这导致一旦推出RF卡口 APS-C无反相机,在使用RF镜头时“赚长焦”同时也“亏广角”,1.6x的视角变化使得现有RF镜头广角端变得很尴尬。
据传闻,佳能并没有“RF-S”APS-C镜头开发计划,而是推出一些“非常规”焦段的全画幅镜头来兼顾使用。
4.机身体积相对EOS M没有优势(弊)
对于APS-C画幅,用户更加在意体积和重量,虽然前文谈到搭载APS-C图像传感器可以使用更小快门组件、防抖组件,有利于机内堆叠设计缩减体积,但RF卡口直径和法兰距都要大于EF-M,在同等配置下RF卡口机身很难做的和EF-M一样小巧,尤其是机身高度、厚度。当然如果RF卡口 APS-C无反定位是APS-C旗舰,机身略大于EF-M机型,一些用户并不会介意。然而想要RF替代EF-M推出中低端机型,机身缩小卡口硕大,会显得不协调,目前尼康Z50、Zfc也存在这一问题。
5.影响EF-M系统产品售卖(弊)
EOS Kiss M、EOS Kiss M2为EOS M50、EOS M50 MarkII日本型号
对于佳能来说,EOS M系列相机是其无反相机热卖产品线,尤其EOS M50系列在中低端市场上表现抢眼。如果推出RF卡口 APS-C无反相机,无论定位高端还是中低端都会给EF-M卡口相机的售卖带来负面影响,用户会对该系统前景持悲观态度,谁也不愿意去购买一个即将“终结”的系统。当然初期大多购买的家用入门用户并不了解或并不在意,但随着“懂行”人士的意见不断向下渗透,EF-M系统产品销量逐渐下滑会沉重打击中低端无反市场份额。
-04-小结
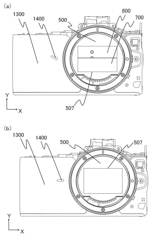
佳能RF相机紧凑型快门专利
总的来说,佳能现在最怕的是推出的RF卡口 APS-C无反相机只能满足很小的一部分用户群需求(比如打鸟),同时还对热卖的EF-M产品产生负面影响。这就有些丢了西瓜捡芝麻的意思。当然还有上述其他因素左右佳能这一决策,如果各位对RF卡口 APS-C无反感兴趣,请给佳能展示这一市场的强烈需求。而对其他用户来说,传闻佳能在开发廉价的全幅RF卡口相机,似乎这才是“正解”。
作者·编辑 | 梁爽
对于APS-C RF卡口相机,您怎么看?请留言告诉我们
带来更极致影像 佳能RF卡口系统优势解析
2018年9月5日,佳能公司不仅发布了旗下首款全画幅微单相机EOS R,而且还将全新的RF卡口和镜头系统一并带到了大家面前。相较于单反系统的EF卡口和镜头系统,RF系统都有哪些特点和优势呢?未来这一系统又将朝着怎样的方向前进呢,今天我们就来了解一下。
口径与短法兰距带来更优画质和更小体积
RF卡口内径为54mm与EF卡口内径相同。一般来说,卡口越大就可以容纳更大的光圈直径。虽然RF卡口和EF卡口的大小相同,但是更为新颖的设计却赋予了光学设计以更多的灵活与自由,让RF系列镜头可以使用更大的最大光圈。
短法兰距带来更高画质和轻巧体积
EOS R和EOS RP相机的法兰距是20毫米,比单反相机的法兰距要短得多。熟悉摄影原理的朋友都知道,法兰距越短最后一块透镜就可以更靠近图形传感器。这么一来,机体变得更紧凑,镜头设计也更灵活。
大口径后镜组
左侧RF70-200mm F2.8 L IS USM镜头,相对于EF同规格镜头体积更加紧凑。
得益于RF卡口的大口径和短后对焦距离,提升了镜头光学设计的灵活性,可在成像面附近配置大口径镜片(后镜组),能够在减少光线折射、降低像差的的同时,制造出中央与边缘成像均优异且体积更为小巧的镜头。很多大光圈“牛头”却有着轻巧的体积,与同样紧凑的R系列相机相得益彰。
新卡口通讯系统带来更多可能性
RF镜头有12 个电子触点,多于EF镜头的8个。这就让机身与镜头的数据传输量更大速度也更快,可以实现很多EF卡口系统无法实现的功能。
RF卡口子的12个电子触点
RF镜头上都具备多功能控制环,用户可以自由设定控制环可以调节的系统设定以及拍摄参数,这就是新卡口通讯系统带来的好处。
多功能控制环让操控更高效
在将相机和镜头组合以后,相机可以识别是哪一只镜头,并通过预设给出最优的光学配置方案,对畸变、色散、暗角等相关信息进行优化已达到最佳画质输出的目的。新的卡口系统让机身与镜头之间,不再是简单的接收光线、驱动对焦、记录参数,而是更为复杂的数据通信,两者合作为用户带来最优的影像表现。
双重防抖系统
另外从目前的行业发展来看,镜头防抖+机身防抖将会是未来的趋势,而这也要有赖于机身和镜头之间大量高速度的数据交换。RF镜头内置的陀螺仪,拍摄时可通过镜头的陀螺仪感应器和相机CMOS图像感应器的图像信息检测抖动量,比较、分析信息,高精度检测被摄体的缓慢晃动等低频抖动,并进行补偿。短片拍摄时的手抖动补偿效果也得到强化。通过新卡口的通讯,协调控制相机的短片电子IS与镜头的IS影像稳定器,实现了组合IS的强大手抖动补偿效果。
RF阵营逐渐壮大
目前RF镜头共有11款,其中7款变焦镜头4款定焦镜头。变焦镜头中既有摄影爱好者喜欢用的大三元镜头,也有RF24-240mm F4-6.3 IS USM这样的旅游镜头,以及RF24-105mm F4-7.1 IS STM这样的高性价比产品。而RF28-70mm F2 L USM则是一款凸显RF系统实力的顶级变焦镜头。
RF28-70mm F2 L USM镜头
在定焦镜头方面,自然少不了RF50mm F1.2 L USM、RF85mm F1.2L USM这样的顶级大光圈人像镜头,也有RF35mm F1.8 MACRO IS STM这样价格便宜量又足的万金油式产品。同时佳能还推出了一款应用平滑散焦镀膜技术的RF85mm F1.2 L USM DS镜头,这枚镜头有着更为柔美平滑的焦外虚化技术,为人像、婚纱等摄影提供了更好的表现力。、
RF35mm F1.8 MACRO IS STM镜头
虽然目前RF系统的镜头数量已经不少了,可以满足摄影爱好者的大部分需要。但是相对于EF系统来说还是显得不太丰富,当然这个我们不用担心,交给时间解决就好了。得易于RF卡口的先天优势,更高规格的镜头以及更适合拍摄视频的产品,也是RF系统未来发展的方向。
微单的专业化不只是机身性能,镜头同样是重要的一环。RF镜头群的确让我们看到了佳能全画幅微单系统可见的未来。随着微单系统的竞争更加激烈,用户在选择系统时,镜头群正成为越来越重要的一点。
(7476555)
相关问答
佳能rf卡口协议开放了吗?
佳能rf卡口协议没有开放,需要开发rf卡口镜头必须要得到佳能授权。其实不论是佳能还是尼康、索尼、富士,各品牌相机厂商为了保护自己的利益都不会开放自己的卡...
佳能rf卡口和m卡口通用吗?
三个的卡口不是一样的。三种镜头的区别如下:1、光学结构不同:EF-M和EF-S对应的是单反相机,法兰距44mm,电子接点8个。RF对应的是无反相机,法兰距20mm,电...RF...
未来佳能rf卡口会不会有一支高素质、高性价比、体积小型化的50mmf/1.4标头呢?
理论讲,这是一定的!微单是未来的趋势,RF自然也是未来的镜头趋势!去年九月,佳能发布EOSR同期发了一支RF351.8macrostmIS镜头售价亲民!算是高性价比...理...
佳能毎款镜头都能使用转接环吗?
不一定,佳能近30年来一共开发了4种接口(不算30年前的FD卡口)即:EF卡口,EF-s卡口,EF-m卡口以及RF卡口。1、EF卡口是单反的标准卡口,适用于绝大部分全画幅...3...
佳能rf镜头副厂有哪些?
RF副厂镜头指的是使用RF卡口,由第三方生产制造的镜头。以下是市场上常见的RF副厂镜头品牌:1.Sigma:该品牌生产的RF副厂镜头种类繁多,包括各种焦段的广角镜...
佳能镜头卡口有几个?
佳能有3种卡口,佳能EF卡口,主要用于单反相机;佳能EF-M卡口,主要用于EOSM无反相机;佳能RF卡口,主要用于EOSR/RP全幅无反相机。佳能(Canon),是日本的一家...
佳能rf镜头可以转ef卡口吗?
佳能rf镜头与ef镜头,显然不能通用。佳能rf卡口与佳能ef卡口,对应的都是全画幅相机规格。由于佳能ef卡口的法兰距比佳能rf卡口的法兰距更长,于是,通过转接环...
佳能r5配rf卡口最好的镜头?
可以考虑一下即将推出的RF大三元,最令人期待的就是佳能RF70-200mmF2.8LISUSM,它是大三元中的长焦镜头,最大的改变是体积。镜头比EF中的70-200mmF2.8略粗...
佳能750d是rf卡口吗?
佳能750d是EF卡口。佳能750d是2015年2月份发布,相比佳能700D提高了很多的。成像画质方面,不但像素值有提升,高感光下的画质也有提高。全19点十字型自动对焦...
red为什么是佳能卡口?
这一次REDCINEMA和佳能合作,无疑是看到了RF卡口的潜力。虽然当下RF卡口的镜头不多,但佳能深耕镜头领域多年,在设计这款全新的卡口时就已经深思熟虑,除了着眼...
